Парапетні котли Eurotherm KT TSY/TBY

Інструкція з експуатації

Отримати консультацію, замовити:

Парапетні котли Євротерм KT TSY / КТ TВY призначені для теплопостачання індивідуальних житлових будинків, квартир і споруд комунально-побутового призначення, обладнаних системами водяного опалення з природною або штучною циркуляцією теплоносія з робочим тиском води до 0,2 МПа (2 бар) і максимальною температурою води на виході з котла до 90°С.

Побутові парапетні котли КТ TSY зі сталевим теплообмінником призначені тільки для нагріву води в системах водяного опалення. Парапетні котли КТ TВY зі сталевим теплообмінником двоконтурні призначені для нагріву води в системах водяного опалення і для нагріву води для системи гарячого водопостачання (з мідним теплообмінником другого контуру). Завдяки розміщеного в водяний порожнини апарату мідного теплообмінника спеціальної конструкції є можливість отримання гарячої води для господарських потреб. Теплова потужність мідного теплообмінника не перевищує номінальну теплопродуктивність апарату.

ТЕХНІЧНІ ХАРАКТЕРИСТИКИ КТ TSY/TBY B «СТАНДАРТ»

Найменування параметруОд. вим.Найменування апарату “СТАНДАРТ”
КТ 08TSY BКТ 10TSY BКТ 10TBY BКТ 12TSY BКТ 12TBY BКТ 16TSY BКТ 16TBY B
ТЕХНІЧНІ ХАРАКТЕРИСТИКИ:
1. ПаливоПриродний газ ГОСТ 5542-87
2. Номінальна теплова потужністькВт7,4101012121616
3. Витрата природного газу при номінальній потужностім3/год.0,841,141,141,371,371,821,82
4. Максимальна температура опалювальної води на виході з апарату°С90±5
5. Номінальний тиск газуПа1274
6. Тиск в системі опалення, не більшбар2
7. Тиск в системі ГВП, не більшбар666
8. Діапазон регулювання температури опалювальної води на виході з апарату°С50…90
9. ККД, не менш%92
10. Найбільша швидкість вітру, при якій апарат зберігає працездатністьм/с15
11. Корегований рівень звукової потужності працюючого апарату, не більшдБ40
12. Товщина зовнішньої стінки будівлі, через який проходить газохідмм250…600
13. Внутрішній перетин патрубків димовідвідної частинимм130х106130х106130х106212х106212х106212х106212х106
14. Зовнішній перетин патрубків димовідвідної частинимм231х237231х237231х237231х307231х307231х307231х307
15. Номінальна температура продуктів згоряння на виході з апарату, не менш°С110
16. Витрата гарячої води в системі ГВП за різницею температури Δt=35°Cл/год.220±25280±30350±40
17. Діаметри приєднувальних патрубків:
• по газу
• опалювального контуру
• системи ГВП

дюйм

½”
1½”

½”
1½”

½”
1½”
½”

½”
1½”

½”
1½”
½”

½”
1½”

½”
1½”
½”
18. Габарити:
• висота
• ширина
• глибина

мм

655
450
315

655
554
315

655
554
315

655
624
315

655
624
315

655
554
315

655
554
315
19. Зміст в сухих нерозбавлених продуктах згоряння:
• СО₂ не більш
• NOₓ не більшш


% об.
мг/м3


0,05
240
20. Термін служби, не меншроків15
21. Маса апарату (без димоходу)кг4655,556,561636571

КТ TSY/TBY  A «ЛЮКС»

Найменування параметруОд. вим.Найменування апарату “ЛЮКС”
КТ 08TSYКТ 10TSYК 10TBYКТ 12TSYКТ 12TBYКТ 16TSYКТ 16TBY
ТЕХНІЧНІ ХАРАКТЕРИСТИКИ:
1. ПаливоПриродний газ ГОСТ 5542-87
2. Номінальна теплова потужністькВт7,4101012121616
3. Витрати природного газу при номінальній потужностім3/год.0,841,141,141,371,371,821,82
4. Витрати природного газу при номінальній потужності°С90±5
5. Номінальний тиск газуПа1274
6. Тиск в системі опалення, не більшбар2
7. Тиск в системі ГВП, не більшбар666
8. Діапазон регулювання температури опалювальної води на виході з апарату°С50…90
9. ККД, не менш%92
10. Найбільша швидкість вітру, при якій апарат зберігає працездатністьм/с15
11. Корегований рівень звукової потужності працюючого апарату, не більшдБ40
12. Товщина зовнішньої стінки будівлі, через який проходить газохідмм250…600
13. Внутрішній перетин патрубків димовідвідної частинимм130х106130х106130х106212х106212х106212х106212х106
14. Зовнішній перетин патрубків димовідвідної частинимм231х237231х237231х237231х307231х307231х307231х307
15. Номінальна температура продуктів згоряння на виході з апарату, не менш°С110
16. Витрати гарячої води в системі ГВП за різницею температури Δt=35°Cл/год.220±25280±30350±40
17. Діаметри приєднувальних патрубків:
• по газу
• опалювального контуру
• системи ГВП

дюйм

½”
1½”

½”
1½”

½”
1½”
½”

½”
1½”

½”
1½”
½”

½”
1½”

½”
1½”
½”
18. Габарити:
• висота
• ширина
• глибина

мм

734
506
365

734
589
365

734
589
365

734
659
365

734
659
365

734
589
425

734
589
425
19. Зміст в сухих нерозбавлених продуктах згоряння:
• СО₂ не більш
• NOₓ не більш


% об.
мг/м3


0,05
240
20. Термін служби, не меншероків15
21. Маса апарату (без димоходу)кг46.5596065.5686972

Габаритні розміри, розташування і призначення патрубків наведені на малюнках 1,2

Малюнок 1. Установче креслення апарату KT TSY / TBY «СТАНДАРТ» без димоходу

Малюнок 2. Установче креслення апарату KT TSY / TBY «ЛЮКС» без димоходу

На малюнках 1,2 представлені установчі креслення апаратів КТ TBY. Для апаратів КТ TSY патрубки В1 і Т3 — відсутні.

  • Т1.1 и Т1.2 – вихід води в систему опалення (пряма вода) зліва і справа відповідно;
  • Т2.1 и Т2.2 – вхід води з системи опалення (зворотна вода) зліва і справа відповідно;
  • В1 – вхід холодної води в теплообмінник ГВП;
  • Т3 – вихід нагрітої води з теплообмінника ГВП;
  • Г1 – вхід природного газу низького тиску.

Апарати забезпечені двома парами патрубків «входу / виходу» теплоносія системи опалення — відповідно з лівого і правого боку. Одна пара патрубків зліва чи справа може бути заглушена за допомогою різьбових заглушок. За підтвердженням проектним рішенням, до апарату можливо приєднати дві приблизно рівноцінні незалежні гілки системи опалення. В такому випадку, при реалізації системи опалення з примусовою циркуляцією, необхідно встановлювати два насоса після патрубків Т1.1. та Т 1.2.

КОНСТРУКТИВНІ ОСОБЛИВОСТІ

Апарати складаються з таких основних частин:

  • теплообмінник з топкою і збірником продуктів згоряння;
  • мідний теплообмінник (тільки для апаратів КТ TBY;
  • газопальниковий пристрій з газовою автоматикою;
  • декоративний кожух;
  • повітропровід;
  • димохід;
  • вітрозахисний кожух.

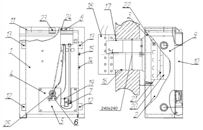
Основні вузли, частини і деталі апарату представлені на малюнку 3

Апарат виконаний у вигляді коробчатой конструкції, призначеної для встановлення на підлозі біля зовнішньої стіни. Усі основні елементи апарату закріплені на сталевому теплообміннику, що конструктивно об’єднує: жаротрубний теплообмінник 1, топку 2, збірник продуктів згоряння 3, газопальниковий пристрій 4, що являє собою фронтальний лист 5 із закріпленими на ньому: вузлом запальника 6газовим колектором 7 та газовою автоматикою 8, закріпленими на передній стінці теплообмінника. Декоративний кожух апарату складається з бокових 9, передньої 10 і верхньої 11  стінок. Органи керування газовою арматурою виведені через верхню стінку в передній її частині. На малюнку 3 (вид зверху) представлені органи керування з відкритою декоративною кришкою. Для підключення апарату до зовнішніх трубопроводах опалення від відповідних елементів апарату виведені патрубки 12 і 13.

При цьому, для зручності приєднання трубопроводів системи опалення, конструкцією передбачена можливість як правого так і лівого підключення, для чого з обох сторін є різьбові патрубки. Залежно від конструкції системи опалення можуть бути задіяні як усі чотири патрубки, так і менш. При цьому не задіяні патрубки необхідно заглушити. Підключення трубопроводів контуру ГВП проводиться тільки з одного боку через патрубки 14, 15.

Повітрозабірний короб 16 та короб для відведення відпрацьованих газів 17 виконані у вигляді телескопічної конструкції, що дозволяє вивести їх через зовнішню стіну товщиною від 250 до 600 мм. Із зовнішнього боку стіни кріпиться вітрозахисний кожух 18, що сприяє стійкому відведенню продуктів згоряння на вулицю і підводу повітря для горіння з вулиці. Конструкція забезпечує нормальний процес горіння при швидкості повітряного потоку до 16 м / с.

Малюнок 3. Основні вузли, частини і деталі апарату

  1. Теплообмінник жаротрубний;
  2. Топка;
  3. Збірник продуктів згоряння;
  4. Газопальниковий пристрій;
  5. Фронтальний лист;
  6. Вузол запальника;
  7. Колектор;
  8. Газова автоматика;
  9. Стінка бокова;
  10. Стінка передня;
  11. Стінка верхня;
  12. Патрубок зворотного трубопроводу системи опалення;
  13. Вхідний патрубок трубопроводу системи опалення;
  14. Патрубок входу холодної води ГВП;
  15. Патрубок виходу гарячої води ГВП;
  16. Повітрозабірний короб;
  17. Короб для відведення відпрацьованих газів;
  18. Кожух вітрозахисний;
  19. Пальник;
  20. Цільнокатані котлові труби;
  21. Турбулізатори з нержавіючої сталі;
  22. Теплообмінник ГВП;
  23. Термометр;
  24. П’єзозапальник;
  25. Оглядове вікно
Прокрутка до верху

Оформити замовлення

    Ваше ім'я (обов'язково)

    Ваш e-mail (обов'язково)

    Тема

    Повідомлення